后端 go+php
后台laravel
安卓端:Java
iOS端:obje-ctive-C
PC端:C++
web端:c#
这套是互站卖1w的版本
里面有两个版本的程序,第一个是我在别人服务器上面打包的,包含了程序所需要的环境以及执行过的命令我都打包下来了
第二个版本是网上的版本,我对比了两个版本发现程序基本上相同,但是他那边有安卓和ios的源码,我这边只有两个安卓版本的APP
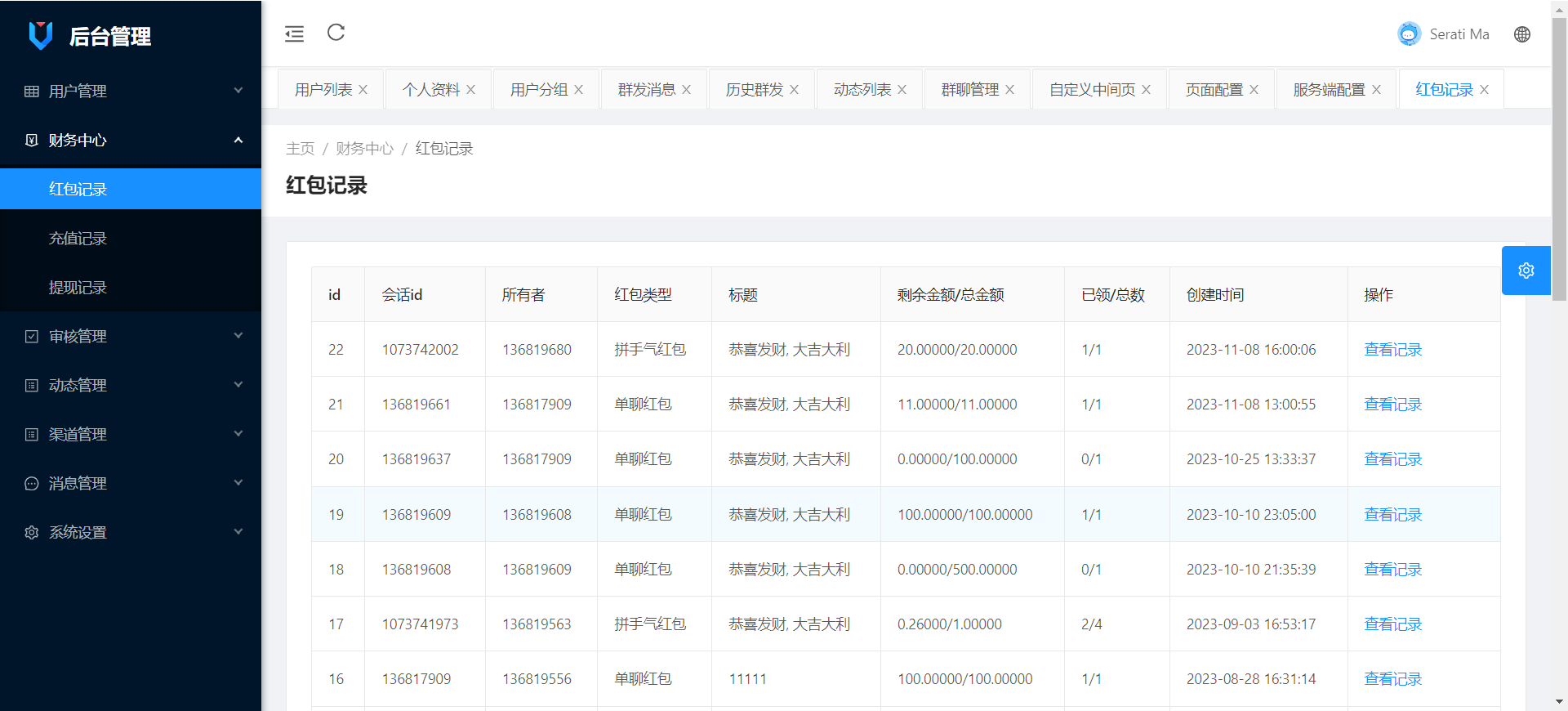
后端是laravel5框架,前端网页就是仿飞机的聊天界面,但APP不是,不过ui做得也还是不错的,功能也还可以
















© 版权声明
文章版权归作者所有,未经允许请勿转载。
THE END













